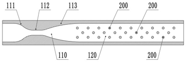
La patente del modelo de utilidad pertenece al campo técnico de los equipos químicos, presenta un tubo de reacción de atomización de alta velocidad, que incluye un cuerpo de tubo, que está provisto de un área de atomización y un área desconcertante, el área de atomización a lo largo de la dirección del flujo del material está provista de una sección de contracción, Una sección de garganta y una sección de expansión en orden, el área de deflector está provista de varios miembros desconcertantes.
En esta patente de modelo de utilidad, el área de atomización en el cuerpo del tubo se utiliza para atomizar el material de reacción, y el área de contacto del material de reacción después de la atomización aumenta, que es más propicio para el proceso de transferencia de masa del material de reacción; Entonces el área desconcertante se utiliza para cambiar la trayectoria de flujo del material de reacción, para mejorar el efecto de mezcla del material de reacción, y luego mejorar la eficiencia de transferencia de masa del material de reacción, es decir, el tubo de reacción en esta patente de modelo de utilidad tiene la ventaja de una alta eficiencia de transferencia de masa, Puede reducir la aparición de reacciones secundarias y mejorar la calidad y la eficiencia de la producción.

En el proceso de producción química, la producción de muchos productos químicos debe completarse mediante reacciones químicas, que generalmente se dividen en procesos de reacción continua y procesos de reacción intermitentes.
El proceso de reacción intermitente debe llevarse a cabo en el reactor, y la reacción intermitente tiene los problemas de largo tiempo de reacción, baja utilización del equipo y débil capacidad de producción de un solo reactor.
Mientras que el proceso de reacción continua se lleva a cabo en un reactor tubular, que generalmente se utiliza para llevar a cabo un fuerte proceso de reacción exotérmica o un fuerte proceso de reacción que absorbe el calor, y el reactor Tubular tiene muchos tubos de reacción en los que los materiales de reacción reaccionan químicamente para producir productos.
En la actualidad, para mejorar la eficiencia de transferencia de masa de los materiales de reacción en los tubos del reactor, generalmente agregamos miembros desconcertantes a los tubos del reactor, que se utilizan para cambiar la trayectoria de flujo de los materiales de reacción y así mejorar el efecto de mezcla entre los materiales de reacción.
Sin embargo, dado que los miembros de parpadeo en el tubo de reacción suelen ser de estructuras deflectoras, la eficiencia de transferencia de masa del material de reacción se puede mejorar en una medida limitada. Por lo tanto, existe una necesidad urgente de desarrollar un tubo de reacción con una mayor eficiencia de transferencia de masa.