
Abstracto
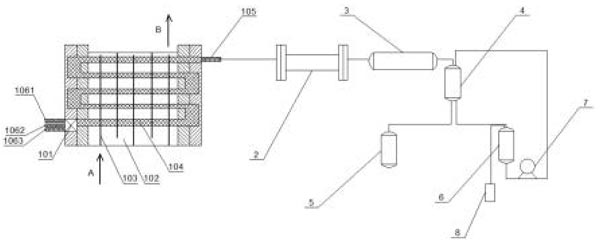
Este modelo de utilidad se refiere al campo de la tecnología de síntesis orgánica y, más específicamente, se relaciona con un sistema de producción continua de acetonitrilo a base de fenilamina. El sistema de producción incluye microrreactores conectados secuencialmente, reactores de retardo, mecanismos de enfriamiento y dispositivos de separación de fases. El dispositivo de separación de fases está equipado con una entrada para la fase líquida, una salida para la fase oleosa y una salida para la fase acuosa. La salida de la fase de aceite está conectada a un dispositivo de granulación de enfriamiento, y la salida de la fase acuosa está conectada a un primer dispositivo de evaporación y deshidratación a baja temperatura de vacío. El primer dispositivo de evaporación y deshidratación de baja temperatura de vacío está equipado con un puerto de descarga, que está conectado a la entrada del dispositivo de separación de fases a través de una bomba de circulación. Este Modelo de Utilidad combina microrreactores y reactores de retardo con un control preciso de la temperatura para evitar el sobrecalentamiento local, lo que puede provocar reacciones no deseadas, como la polimerización o descomposición del acetonitrilo a base de fenilamina. reduciendo así el contenido de COD.
1
Un Sistema de Producción continua para acetonitrilo a base de fenilamina, caracterizado por microrreactores conectados secuencialmente, reactores de retardo, un mecanismo de enfriamiento y un dispositivo de separación de fases. El dispositivo de separación de fases está equipado con una entrada para la fase líquida, una salida para la fase oleosa y una salida para la fase acuosa. La salida de la fase de aceite está conectada a un dispositivo de granulación de enfriamiento, y la salida de la fase acuosa está conectada a un primer dispositivo de evaporación y deshidratación a baja temperatura de vacío. El primer dispositivo de evaporación y deshidratación de baja temperatura de vacío está equipado con un puerto de descarga, que está conectado a la entrada del dispositivo de separación de fases a través de una bomba de circulación.
2
El Sistema de Producción continua para acetonitrilo basado en fenilamina de acuerdo con la reivindicación 1, en el que el microrreactor usa un microrreactor de flujo continuo de alto rendimiento.
3
El Sistema de Producción continua para acetonitrilo basado en fenilamina de acuerdo con la reivindicación 1, en el que el reactor de retardo usa un reactor de corriente lateral diferencial.
4
El Sistema de Producción continua para acetonitrilo basado en fenilamina de acuerdo con la reivindicación 1, en el que el dispositivo de separación de fases emplea un separador de fases automático o una centrífuga de separación de fases líquido-líquido.
5
El Sistema de Producción continua para acetonitrilo a base de fenilamina de acuerdo con la reivindicación 1, en el que el primer dispositivo de evaporación y deshidratación a baja temperatura de vacío incluye un evaporador, y el evaporador utiliza un evaporador de película descendente. Un Rehervidor de circulación forzada o un Rehervidor de sifón.
6
El Sistema de Producción continua para acetonitrilo basado en fenilamina de acuerdo con la reivindicación 5, en el que el evaporador usa un evaporador de película descendente.
7
El Sistema de Producción continua para acetonitrilo a base de fenilamina de acuerdo con la reivindicación 1, que comprende además un segundo dispositivo de evaporación y deshidratación a baja temperatura al vacío, que se coloca entre la salida de la fase de aceite y el dispositivo de granulación de enfriamiento del dispositivo de separación de fases.
8
El Sistema de Producción continua para acetonitrilo a base de fenilamina de acuerdo con la reivindicación 7, en el que el segundo dispositivo de evaporación y deshidratación a baja temperatura de vacío incluye un evaporador, y el evaporador usa un evaporador de película descendente. Un Rehervidor de circulación forzada o un Rehervidor de sifón.
Descripción
Campo técnico
Este modelo de utilidad se relaciona con el campo de la tecnología de síntesis orgánica, que involucra específicamente un sistema de producción continua para acetonitrilo a base de fenilamina.